Röntgenbuis: nieuw product annulering

2025-09-02 - Laat een bericht achter

High Hope Inc. is erg trots om onze nieuw ontwikkelde aan te kondigenRöntgenbuis—— XC 24.


Specificaties:

P/n
Nominale spanning Doelhoek Brandpunt Anode warmteopslagcapaciteit Max anode warmtedissipatiesnelheid Afscherming
XC24 100 kV 15 ° 1,0 mm 45 Zone's (31,5 kJ) 19.4 Zone's / min glasvezel/ lood


Testen:

P/n
Hoogspanningstest 1 Hoogspanningstest 2 Belichtingstest
XC24 100 kV / 1 Ma / 10 min 110 kV / 1 ma / 15 min 100 kV / 15 ma / 3 sec



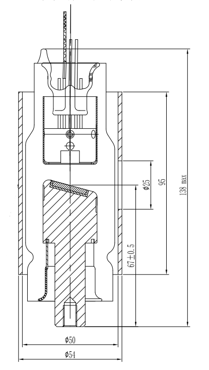
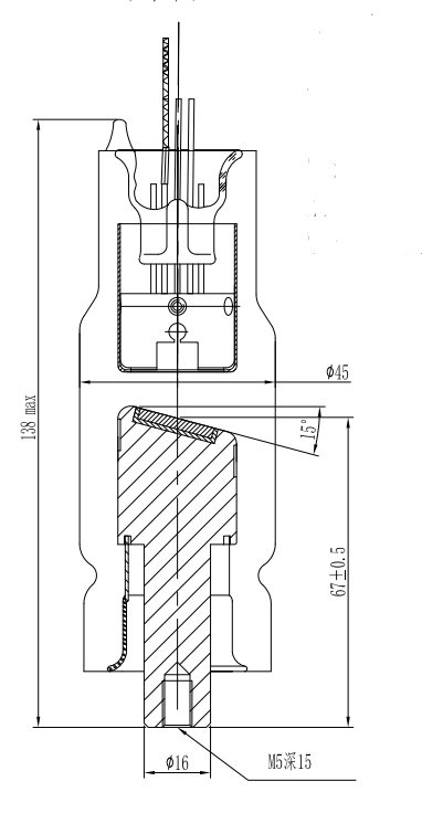
Overzicht:

Zonder afscherming (hierboven)


Met afscherming (hierboven)

Vezelglas: φ 54

Lead: φ 58


Stuur onderzoek

X
We gebruiken cookies om u een betere browse-ervaring te bieden, het siteverkeer te analyseren en de inhoud te personaliseren. Door deze site te gebruiken, gaat u akkoord met ons gebruik van cookies. Privacybeleid